Rack power and cooling part numbers, Models 941, 94E
This topic presents information on rack power and cooling part numbers for Models 941, 94E.
Use Table 1 as a directory for rack power and cooling part numbers for Models 941, 94E.
Note: The following part numbers are the most recent for this version of the
Parts Catalog. Your storage facility or serviceable event FRU list might contain an older or newer
part number. The parts-ordering system recognizes all valid part numbers and automatically
substitutes an available part number as needed.
| Part name | Figure |
|---|---|
| 5/12V DDM power module | Figure 2 |
| Battery module set (a set is three battery modules) | Figure 1 |
| Battery module enclosure | Figure 1 |
| Battery module enclosure fan | Figure 1 |
| Battery module filler | Figure 1 |
| Booster power module | Figure 2 |
| Bus bar A1, 208VDC, primary | Figure 9 |
| Bus bar B1, 208VDC, primary | Figure 9 |
| Bus bar A2 and B2, 208VDC, secondary | Figure 10 |
| Bus bar A and B, 5/12V, primary | Figure 7 |
| Bus bar A and B, 5/12V, secondary | Figure 7 |
| Bus bar A, 5/12V, primary to 5/12V secondary | Figure 8 |
| Bus bar B, 5/12V, primary to 5/12V secondary | Figure 8 |
| Cables, battery module set | Figure 14 |
| Cables, bus bar, A1, 208VDC, primary | Figure 12 |
| Cables, bus bar, B1, 208VDC, primary | Figure 12 |
| Cables, bus bar, A2, 208VDC, secondary | Figure 12 |
| Cables, bus bar, B2, 208VDC, secondary | Figure 12 |
| Cables, fan sense card | Figure 15 |
| Cables, primary power supply (PPS) | Figure 11 |
| Cables, rack identity card | Figure 17 |
| Cables, rack operator panel UEPO switch assembly | Figure 18 |
| Cables, RPC card | Figure 19 |
| DASD fan tray assembly | Figure 4 |
| Fan sense card | Figure 3 |
| Mainline power cable | Table 11, Index 1 |
| Local remote switch card | Figure 4 |
| Primary power supply | Figure 2 |
| Primary power supply fan | Figure 2 |
| Rack identity card | Figure 4 |
| Rack operator panel UEPO switch assembly | Figure 5 |
| RPC card | Figure 3 |
| Sequencer module | Figure 2 |
| zSeries local remote switch card | Figure 4 |
| All other parts | (Find the appropriate figure below) |

| Index | Part name | Part number |
|---|---|---|
| 1 | Battery module enclosure | 22R4417 |
| 2 | Screw | 54G2882 |
| 3 | Battery module filler | 23R0207 |
| 3 | Battery module set (three modules) | 45W6796 2 Screws |
| 3 | Battery module set FRU shipping materials (box, pads, pallet, and field strapping kit). Only to be ordered if the shipping materials for the new FRU have been lost or damaged. | 45W9747 |
| 3 | Field strapping kit, see FRU shipping materials above. | 92X9720 |
| 4 | Battery module frame (not a FRU) | 1 |
| 5 | Battery module enclosure fan | 22R4419 |
| 6 | Fan guard, battery module enclosure | 93H6016 |
| 7 | Screw | 1621200 |
Notes:
|
||

| Index | Part name | Part number |
|---|---|---|
| 1 | Primary power supply (PPS) A base PPS contains the following parts:
|
22R4215 |
| 2 | Screw | 54G2882 |
| 3 | Fan guard | 22R5052 |
| 4 | Screw, fan guard | 22R6069 |
| 5 | PPS Fan | 22R4210 |
| 6 | Booster power module (optional) | 23R0493 |
| 7 | Screw | 54G2882 |
| 8 | 5/12V DDM power module1 (optional) | 22R4207 |
| 8 | Cover2 | 22R4212 |
| 9 | Screw | 3 |
| 10 | 5/12V DDM power module | 22R4207 |
| 11 | Screw | 3 |
| 12 | Sequencer module | 23R0639 |
Notes:
|
||

| Index | Part name | Part number |
|---|---|---|
| 22 | Fan sense card | 22R4917 |
| 23 | Screw | 1621842 |
| 24 | RPC card | 95P1959 |

| Index | Part name | Part number |
|---|---|---|
| 28 | Rack identity card | 22R5740 |
| 29 | Screw | 54G2882 |
| 30 | Card, local remote switch | 95P1963 |
| 30 | Card, zSeries local remote switch | 95P1962 |
| 31 | Screw | 54G2882 |
| 32 | DASD fan tray assembly | 22R5051 |

| Index | Part name | Part number |
|---|---|---|
| 40 | Rack operator panel UEPO switch assembly | 22R5741 |
| 41 | Cover gasket | 22R1453 |
| 42 | Label, agency | 22R1790 |
| 43 | Label, country of origin, Hungary | 53P5888 |
| 43 | Label, country of origin, US | 44P3946 |
| 44 | Label, IBM logo | 97P2549 |
| 45 | Label, manufacturing site, Hungary | 22R1805 |
| 45 | Label, manufacturing site, San Jose, CA | 22R1804 |
| 46 | Label, Nordic | 97P5092 |

| Index | Part name | Part number |
|---|---|---|
| 1 | Screw, operator panel gate | 54G2882 |
| 2 | Screw, operator panel gate | 1624775 |
| 3 | Operator panel gate | 22R4905 |
| 4 | Label, operator panel | 22R5887 |
| 5 | Door, operator panel, early version1 | N/A |
| Door, operator panel, later version1 | 22R3997 | |
| 6 | Label, emergency switch | 22R1047 |
| 7 | Housing, operator panel, early version1 | N/A |
| Housing, operator panel, later version1 | 22R3996 | |
| 8 | Screw, operator panel gate2 | 1621319 |
| 9 | Lock nut, housing mounting | 1622417 |
| 10 | Washer, housing mounting | 1622276 |
| 11 | Screw, connector-to-housing | 1622660 |
Notes:
|
||
Parts of the rack power and cooling bus bars

| Index | Part name | Part number |
|---|---|---|
| 60 | Bus bar A, 5/12V, primary | 22R6100 |
| 61 | Bus bar B, 5/12V, primary | 22R6101 |
| 62 | Bus bar A, 5/12V, secondary | 22R6102 |
| 63 | Bus bar B, 5/12V, secondary | 22R6103 |
| 64 | Washer | 1622276 |
| 65 | Lock nut | 1622418 |
| 66 | Bolt | 22R0321 |
| 67 | Cable, bus bar -to- bus bar | 22R6105 |
| 68 | Cable, bus bar -to- bus bar | 22R6104 |


| Index | Part name | Part number |
|---|---|---|
| 80 | Bus bar B1, 208VDC, primary | 22R6125 |
| 81 | Bus bar A1, 208VDC, primary | 22R6124 |
| 82 | Washer | 1622276 |
| 83 | Lock nut | 1622418 |

| Index | Part name | Part number |
|---|---|---|
| 85 | Bus bar A2 and B2, 208 VDC, secondary | 22R6126 |
| 86 | Screw | 54G2882 |
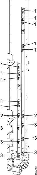
Cables for rack power and cooling parts

| Index | Part name | Part number |
|---|---|---|
| 1 | Cable, power (3-phase), short (PPS-2), 60A Chicago (7.7 feet) | 22R1188 |
| Cable, power (3-phase), long (PPS-1), 60A Chicago (9.5 feet) | 22R1189 | |
| Cable, power (1-phase), short (PPS-2), Chicago (7.7 feet) | 17P9590 | |
| Cable, power (1-phase), long (PPS-1), Chicago (9.5 feet) | 17P9591 | |
| Cable, power (3-phase), long (PPS-1), 60A Japan (17.5 feet) | 22R2224 | |
| Cable, power (3-phase), short (PPS-2), 60A Japan (15.8 feet) | 22R1191 | |
| Cable, power (3-phase), long (PPS-1), EMEA (17.5 feet) | 22R3795 | |
| Cable, power (3-phase), short (PPS-2), EMEA (15.8 feet) | 22R3794 | |
| Cable, power (1-phase), long (PPS-1), EMEA (17.5 feet) | 17P9596 | |
| Cable, power (1-phase), short (PPS-2), EMEA (15.8 feet) | 17P9595 | |
| Cable, power (3-phase), long (PPS-1), non-EMEA (17.5 feet) | 22R2222 | |
| Cable, power (3-phase), short (PPS-2), non-EMEA (15.8 feet) | 22R1190 | |
| Cable, power (1-phase), long (PPS-1), non-EMEA (17.5 feet) | 17P9593 | |
| Cable, power (1-phase), long (PPS-1), non-EMEA (17.5 feet) | 17P9592 | |
| 2 | Cable, PPS-1 -to- 5/12V bus bar | 17P8592 |
| Cable, PPS-2 -to- 5/12V bus bar | 17P8593 | |
| 3 | Cable, PPS -to- 5/12V bus bar Base rack only |
17P8587 |
| Cable, PPS -to- 5/12V bus bar Expansion rack only |
17P8589 | |
| 4 | Cable, PPS -to- 5/12V bus bar Base rack only |
17P8587 |
| Cable, PPS -to- 5/12V bus bar x Expansion rack only |
17P8588 | |
| 5 | Cable, PPS-1 -to- 5/12V bus bar | 17P8590 |
| Cable, PPS-2 -to- 5/12V bus bar | 17P8591 | |
| 6 | Cable, PPS -to- RPC card (except Rack-1) | 22R6139 |
| Cable, PPS -to- RPC card (Rack 1) | 22R6147 | |
| 7 | Cable, PPS -to- RPC card (except Rack-1) | 22R6140 |
| Cable, PPS -to- RPC card (Rack 1) | 22R6148 | |
| 8 | Cable, PPS-1 -to- rack identity card | 22R5756 |
| Cable, PPS-2 -to- rack identity card | 22R5757 | |
| 9 | Cable, PPS -to- PPS | 22R5754 |
| 10 | Cable, PPS-1 -to- fan sense card | 22R1772 |
| Cable, PPS-2 -to- fan sense card | 22R5744 | |
| 11 | Cable, PPS-1 -to- fan sense card | 22R5746 |
| Cable, PPS-2-to- fan sense card | 22R5747 | |
| 12 | Cable, PPS-1 -to- battery module | 22R5752 |
| Cable, PPS-2 -to- battery module | 22R5753 | |
| 13 | Cable (multi-connector power cord)1 | 22R5759 |
| 14 | Cable (multi-connector power cord)1 | 22R5759 |
| 15 | Cable, PPS-1-to- battery module | 22R5749 |
| Cable, PPS-2 -to- battery module | 22R5750 | |
| 16 | Cable, PPS -to- rack operator panel UEPO switch | 21R9592 |
| 17 | Cable, PPS -to- 208V bus bar | 22R6127 |
| 18 | Cable, PPS -to- 208V bus bar2 | 22R6127 |
| 19 | Cable, PPS -to- 208V bus bar | 22R6127 |
| 20 | Cable, PPS -to- 5/12V bus bar x Expansion rack only |
17P8588 |
| 21 | Cable, PPS -to- 5/12V bus bar Expansion rack only |
17P8589 |
| 22 | Screw, 5/12V cable retention | 22R0123 |
Notes:
|
||

| Index | Part name | Part number |
|---|---|---|
| 1 | Cable, 208V bus bar -to- PPS | 22R6127 |
| 2 | Cable, 208V bus bar A1 -to- 208V bus bar A2 | 22R6129 |
| Cable, 208V bus bar B1 -to- 208V bus bar B2 | 22R6130 | |
| 3 | Cable, 208V bus bar -to- battery module | 22R6128 |

| Index | Part name | Part number |
|---|---|---|
| 1 | Cable, 208V bus bar B2 -to- CEC enclosure power supply XC1-E1, XC2-E1 | 22R5828 |
| 2 | Cable, 208V bus bar A2 -to- CEC enclosure power supply XC1-E2, XC2-E2 | 22R5829 |
| 3 | Cable, 208V bus bar B2 -to- I/O enclosure power supply XI2-E2, XI4-E2 | 45W1170 |
| 4 | Cable, 208V bus bar B2 -to- I/O enclosure power supply XI1-E2, XI3-E2 | 45W1172 |
| 5 | Cable, 208V bus bar A2 -to- I/O enclosure power supply XI2-E1, XI4-E1 | 45W1169 |
| 6 | Cable, 208V bus bar A2 -to- I/O enclosure power supply XI1-E1, XI3-E1 | 45W1171 |

| Index | Part name | Part number |
|---|---|---|
| 1-2 | Cable, battery module -to- PPS-1 | 22R5752 |
| Cable, battery module -to- PPS-2 | 22R5753 | |
| 3-4 | Cable, battery module -to- 208V bus bar | 22R6128 |
| 5 | Cable, battery module -to- PPS-1 | 22R5749 |
| 6 | Cable, battery module -to- PPS-2 | 22R5750 |

| Index | Part name | Part number |
|---|---|---|
| 1-4 | Cable, fan sense card (front)-to-center
wall bulkhead1 (cable bundle) (Connector J1 cable goes to storage enclosure XS11, J2 to XS12, J3 to XS13, J4 to XS14) Note: Order both cables: fan sense card to bulkhead and bulkhead
to storage enclosure.
|
22R6110 (new); 22R1150 (old) |
| Cable, center wall bulkhead-to-storage
enclosure1 (individual cable) Note: Order both cables:
fan sense card to bulkhead and bulkhead to storage enclosure.
|
22R6431 (new); 22R6109 (old) | |
| 5-8 | Cable, fan sense card (front)-to-center
wall bulkhead1, 2 (cable bundle) (Connector J5 cable goes to storage enclosure XS15, J6 to XS16, J7 to XS17, J8 to XS18) Note: Order both cables: fan sense card to bulkhead and bulkhead
to storage enclosure.
|
22R6112 (new); 22R1152 (old) |
| Cable, center wall bulkhead-to-storage
enclosure (individual cable)1, 2 Note: Order both cables:
fan sense card to bulkhead and bulkhead to storage enclosure.
|
22R6431 (new); 22R6109 (old) | |
| 9-10 | Cable, fan sense card (front) -to- DASD fan trays 1 and 2 | 22R5474 |
| 11 | Cable, fan sense card (front) -to- PPS-1 (upper) | 22R5743 |
| 12 | Cable, fan sense card (front) -to- PPS-2 (lower) | 22R5746 |
| 13 | Cable, fan sense card (front) -to- rack identity card | 22R5916 |
| 14 | Cable, fan sense card -to- fan sense card | 22R5476 |
Notes:
|
||
| Index | Part name | Part number |
|---|---|---|
| 1-4 | Cable, fan sense card (rear)-to-center
wall bulkhead1 (cable bundle) (Connector J1 cable goes to storage enclosure XS21, J2 to XS22, J3 to XS23, J4 to XS24). Note: Order both cables: fan sense card to bulkhead and bulkhead
to storage enclosure.
|
22R6111 (new); 22R1151 (old) |
| Cable, center wall bulkhead-to-storage
enclosure1 (individual cable) Note: Order both cables:
fan sense card to bulkhead and bulkhead to storage enclosure.
|
22R6431 (new); 22R6109 (old) | |
| 5-8 | Cable, fan sense card (rear)-to-center
wall bulkhead1, 2 (cable bundle) (Connector J5 cable goes to storage enclosure XS25, J6 to XS26, J7 to XS27, J8 to XS28) Note: Order both cables: fan sense card to bulkhead and
bulkhead to storage enclosure.
|
22R6113 (new); 22R1153 (old) |
| Cable, center wall bulkhead-to-storage
enclosure (individual cable)1, 2 Note: Order both cables:
fan sense card to bulkhead and bulkhead to storage enclosure.
|
22R6431 (new); 22R6109 (old) | |
| 9-10 | Cable, fan sense card (rear) -to- DASD fan tray 3 | 22R5475 |
| 11 | Cable, fan sense card (rear) -to- PPS-2 (lower) | 22R5744 |
| 12 | Cable, fan sense card (rear) -to- PPS-1 (upper) | 22R5747 |
| 13 | Cable, fan sense card (rear) -to- rack identity card | 22R5917 |
| 14 | Cable, fan sense card -to- fan sense card | 22R5476 |
Notes:
|
||

| Index | Part name | Part number |
|---|---|---|
| 1 | Cable, DASD fan tray -to- 5/12V secondary bus bar | 22R5473 |
| 2 | Cable, DASD fan tray -to- 5/12V secondary bus bar | 22R5472 |
| 3 | Cable, DASD fan tray -to- fan sense card (front) | 22R5474 |
| 4 | Cable, DASD fan tray -to- fan sense card (rear) | 22R5475 |

| Index | Part name | Part number |
|---|---|---|
| 1 | Cable, rack identity card -to- fan sense card (front) | 22R5916 |
| 2 | Cable, rack identity card -to- fan sense card (rear) | 22R5917 |
| 3-4 | Cable, rack identity card -to- CEC enclosure 1 | 22R5919 |
| Cable, rack identity card -to- CEC enclosure 2 | 22R5920 | |
| Cable, rack identity card -to- CEC enclosure 3 | 22R5921 | |
| 5 | Cable, rack identity card -to- I/O enclosure | 22R5922 |
| 6 | Cable, rack identity card -to- I/O enclosure | 22R5923 |
| 7 | Cable, rack identity card -to- I/O enclosure | 22R5924 |
| 8 | Cable, rack identity card -to- I/O enclosure | 22R5925 |
| 9 | Cable, rack identity card -to- PPS | 22R5756 |
| 10 | Cable, rack identity card -to- PPS | 22R5757 |
| 11 | Cable, rack identity card -to- RPC card | 22R6145 |
| 12 | Cable, rack identity card -to- RPC card | 22R6146 |
| 13 | Cable, rack identity card -to- rack operator panel LED assembly | 22R5758 |
| 14 | Cable, local remote switch card -to- RPC card | 22R6141 |
| 15 | Cable, local remote switch card -to- RPC card | 22R6142 |

| Index | Part name | Part number |
|---|---|---|
| 1 | Cable, rack operator panel LED assembly | 22R5758 |
| 2 | Cable, rack operator panel UEPO switch | 22R5741 |
| 3 | Screw, connector-to-housing | 1622660 |

| Index | Part name | Part number |
|---|---|---|
| 1 | Cable, RPC card -to- RPC card | 22R6138 |
| 2 | Cable, RPC card -to- rack identity card | 22R6145 |
| 3 | Cable, RPC card -to- rack identity card | 22R6146 |
| 4 | Cable, RPC card -to- local remote switch card | 22R6141 |
| 5 | Cable, RPC card -to- local remote switch card | 22R6142 |
| 6 | Cable, RPC card -to- PPS (rack 1) | 22R6147 |
| 7 | Cable, RPC card -to- PPS (rack 1) | 22R6148 |
| 8-9 | Cable, RPC card -to- CEC enclosure 1 | 22R6143 |
| 10-11 | Cable, RPC card -to- CEC enclosure 2 | 22R6144 |
| 12 | Cable, RPC card -to- PPS (expansion rack) | 22R6139 |
| 13 | Cable, RPC card -to- PPS (expansion rack) | 22R6140 |